Kynoch's
Douglas Motorcycle
Information
 
HOME Back Next
Your Douglas Photos
Dirt Track Racing Photos

On Road Douglas Photos

About this Site
About the Parts
Engines Frames
Cylinders Tanks
Cyl Heads Wheels
EngineParts Flywheels
Carbies Exhausts
Gearboxes Guards
Casings SmallParts1
Sprockets SmallParts2
Electrical SmallParts3
Footchange More Parts  
Triumph 250
Site News
Contact
Links
Search this Site
Visitors
Old Classifieds
Douglas Parts For Sale
Douglas Parts Wanted
New classifieds
Douglas Parts For Sale
Douglas Parts Wanted
Douglas Motorcycle Forums
Privacy Policy
 
 
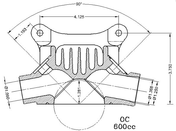
Douglas OC motorcycle 600cc cylinder head
Douglas OC 600cc cylinder head
 
 
 


All the content of the www.kynoch-douglas-parts.com website is copyright 2000-2007 by www.kynoch-douglas-parts.com except where otherwise indicated.

All rights reserved. No reproduction, retransmission or distribution in any form of any of the content is allowed without written permission.